I have done a lot of work with valves in recent years. For me valves have many advantages, least of all the price; since they are now "obsolete" it is quite easy to get hold of them for next to nothing at rally's and junk sales. I recently purchased a couple of hundred battery valves for less than SEK1 (GBœ0.10 US$0.15) each.
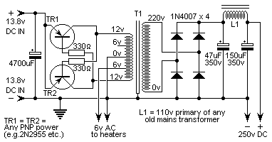
The biggest problem with valves is the PSU needed to provide + 250vDC and 6.3vAC for the fillaments. The transformers are no-longer available at a reasonable price, but a pair of 12v-6v-0v-6v-12v mains transformers will do the job just as well.
For portable use only one transformer is required together with a pair of power transistors such as 2N3055 etc.
The two figures show the circuit diagrams of the AC mains and 12vDC PSUs:


The circuits are quite simple and require no further explanation here.
Just one word of warning: Dont forget to put a "bleeder" 100K - 270K ohm resistor accross the 250vDC output if your equipment doesn't already have one built in. Failure to do this can be fatal because the PSU smoothing capacitors can store a lethal charge for days.
Finally if you think that there is no place for valves in QRP or portable work then think again. An "EL84" will deliver 10 watts on the lower HF bands. It draws 300mA @ 6.3v (2.1 watts) for the heater as well as + 53mA at 250vDC (about 15 watts) for the anode and screen. The DC-PSU.GIF will provide this and draw less than 2 amperes from a car battery. A 48A/H car battery will therefore last over 24 hours NONSTOP TRANSMIT !!! If you also think that valves are difficult to build with then try one. You will be surprised.
Have fun, de HARRY, Upplands Vasby, Sweden
I am very grateful to Harry, SM0VPO for giving me permission to use his circuits and ideas. He can be reached by Email at harold.lythall@era.ericsson.se
Frank, G3YCC.